框分类:人性化的同城分类信息系统,我们永远站在用户的角度!一次性购买,终身升级!
[交流论坛]
登录
免费注册
首页
介绍
演示
案例
下载
模板
购买
空间
资讯
问答
0464-8815359
快速搜索
帖子标题
作者
版块
地方互联网创业交流论坛 - 框分类信息系统
»
框分类信息系统
»
论坛
»
【程序】框分类信息系统9.0
框分类信息系统
论坛
返回列表
1
2
3
4
5
6
7
8
»
/ 10
下一页
楼主:yyg
【程序】框分类信息系统9.0
[复制链接]
发送短消息
UID
2249
精华
0
查看公共资料
搜索主题
搜索帖子
zz2u
组别
商业版用户
生日
帖子
152
积分
713
性别
注册时间
2014-09-12
31
#
字体大小:
t
T
发表于
2014-12-28 17:21
|
只看该用户
漯河信息网发来贺电
漯河信息网
www.luohew.com
TOP
发送短消息
UID
1
精华
9
251443403
查看公共资料
搜索主题
搜索帖子
yyg
框分类
组别
管理员
生日
帖子
669
积分
17221
性别
注册时间
2011-12-27
32
#
字体大小:
t
T
发表于
2014-12-28 17:24
|
只看楼主
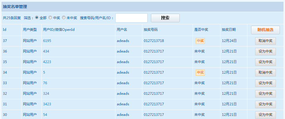
十四、增加抽奖功能,站长可以和商家联合组织抽奖活动,用户得到实惠,商家得到宣传。系统可自动生成中奖用户,也可手动设置
131.jpg
(128.39 K)
2014/12/28 19:33:29
139.jpg
(111.61 K)
2014/12/28 19:33:29
133.jpg
(123.64 K)
2014/12/28 19:33:29
137.png
(43.47 K)
2014/12/28 19:33:29
132.png
(118.56 K)
2014/12/28 19:33:29
135.png
(46.31 K)
2014/12/28 19:33:29
134.png
(, 下载次数:0)
(2014/12/28 19:33:29 上传)
七台河信息网
TOP
发送短消息
UID
1092
精华
0
查看公共资料
搜索主题
搜索帖子
baby
组别
商业版用户
生日
帖子
69
积分
335
性别
注册时间
2012-11-28
33
#
字体大小:
t
T
发表于
2014-12-28 17:26
|
只看该用户
发布了吗
河北注塑加工
河北塑料制品厂
TOP
发送短消息
UID
1
精华
9
251443403
查看公共资料
搜索主题
搜索帖子
yyg
框分类
组别
管理员
生日
帖子
669
积分
17221
性别
注册时间
2011-12-27
34
#
字体大小:
t
T
发表于
2014-12-28 17:27
|
只看楼主
十五、其它更新内容
1、增加首页文章调用标签和商家调用标签
2、验证码改为cookies模式,不会在出显验证码不正确问题
3、后台信息管理增加批量更新
4、修改中文用户登录出错问题,登录名被过滤问题
5、分类可批量添加,多个分类以逗号分隔
6、后台修改信息支持修改上传图片
7、过期置顶信息自动不显示
8、后台可关闭发布信息上传图片功能
9、后台可关闭用户注册
10、新闻分类排序显示问题
11、修改商家绿色模板底部链接出错问题
12、修改微信接口需要多次提交问题
13、修改商家底部链接自动增加www的问题。
14、手机版跳转修改为js跳转,对搜索引擎优化有利
15、修改后台商家链接不正确定问题
框分类信息系统.gif
(18.05 K)
2014/12/28 19:33:45
七台河信息网
TOP
发送短消息
UID
2370
精华
0
查看公共资料
搜索主题
搜索帖子
清风
组别
商业版用户
生日
帖子
9
积分
10
性别
注册时间
2014-12-26
35
#
字体大小:
t
T
发表于
2014-12-28 17:37
|
只看该用户
抽奖功能,确实实用
TOP
发送短消息
UID
2110
精华
0
查看公共资料
搜索主题
搜索帖子
chenzd
组别
商业版用户
生日
帖子
19
积分
28
性别
注册时间
2014-06-18
36
#
字体大小:
t
T
发表于
2014-12-28 17:44
|
只看该用户
赤城赶集网 发来贺电 祝七妹越来越漂亮~
TOP
发送短消息
UID
1596
精华
0
286292660
查看公共资料
搜索主题
搜索帖子
QTH8云淡风轻
组别
管理员
生日
帖子
568
积分
4976
性别
注册时间
2013-06-27
37
#
字体大小:
t
T
发表于
2014-12-28 17:50
|
只看该用户
回复
36楼
chenzd
的帖子
祝你多多成交商家。嘿嘿嘿。
最人性化的分类信息系统 , 站长群:176381403 , 创业做网站 , 就选框分类
www.kfenlei.com
TOP
发送短消息
UID
2281
精华
0
查看公共资料
搜索主题
搜索帖子
absozero
组别
框新手
生日
帖子
16
积分
33
性别
注册时间
2014-10-15
38
#
字体大小:
t
T
发表于
2014-12-28 17:54
|
只看该用户
这次更新太给力了~~~~
大理啦
http://www.dali.la/
发来贺电~
TOP
发送短消息
UID
2311
精华
0
查看公共资料
搜索主题
搜索帖子
围观群众
组别
商业版用户
生日
帖子
17
积分
28
性别
注册时间
2014-10-30
39
#
字体大小:
t
T
发表于
2014-12-28 18:00
|
只看该用户
石棉信息网
www.shimianxian.com
发来贺电!
石棉信息网
www.shimianxian.com
TOP
发送短消息
UID
1837
精华
0
2100968408
查看公共资料
搜索主题
搜索帖子
1230539
临沂信息网
组别
商业版用户
生日
帖子
634
积分
2734
性别
注册时间
2013-12-27
40
#
字体大小:
t
T
发表于
2014-12-28 18:13
|
只看该用户
临沂信息网发来贺电!
【临沂信息网】临沂最专业的信息免费发布网站!
TOP
上一主题
|
下一主题
返回列表
1
2
3
4
5
6
7
8
»
/ 10
下一页
高级编辑器
B
Color
Image
Link
Quote
Code
Smilies
qth8
默认表情
你需要登录后才可以发帖
登录
|
注册
发表回复
查看背景广告
隐藏
发新主题
框分类信息系统
论坛
TOP
设置头像
个人资料
更改密码
用户组
收藏夹
积分